华峰超纤披露一季报,公司2026年一季度实现营业收入8.8亿元,同比下降16.49%;归母净利润亏损193.14万元股票多空套利,上年同期净利润6200.99万元。报告期内,原材料采购价格同比上扬,成本端承压明显,进一步挤压了盈利空间。
举报 第一财经广告合作,请点击这里此内容为第一财经原创,著作权归第一财经所有。未经第一财经书面授权,不得以任何方式加以使用,包括转载、摘编、复制或建立镜像。第一财经保留追究侵权者法律责任的权利。如需获得授权请联系第一财经版权部:banquan@yicai.com 相关阅读

圣阳股份今日涨停,有3家机构专用席位净卖出9619.16万元
圣阳股份今日涨停,有3家机构专用席位净卖出9619.16万元
元股证券:ygzq.hk
04-15 16:59

金陵体育今日涨20.00% 3家机构专用席位净买入7583.36万元
金陵体育今日涨20.00% 3家机构专用席位净买入7583.36万元
04-07 16:33

准油股份今日涨停,有3家机构专用席位净卖出5371.75万元
准油股份今日涨停,有3家机构专用席位净卖出5371.75万元
18 03-04 16:36

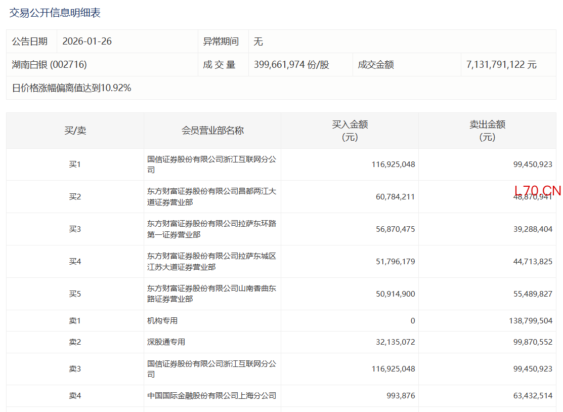
湖南白银今日涨停,有1家机构专用席位净卖出1.39亿元
湖南白银今日涨停,有1家机构专用席位净卖出1.39亿元
元股证券
16 01-26 16:27

瑞丰达案处罚落定!罚没合计4100万,犯罪线索已移送公安
2024年上半年股票多空套利,瑞丰达实际控制人“跑路”的消息引发各方关注,证监会关注后展开核查,并于5月11日宣布对瑞丰达进行立案调查。
第一财经曾连续刊发《瑞丰达人去楼空,近20名投资者现场维权,浦东经侦查封办公楼》、《突然“跑路”的瑞丰达:重仓新三板公司,股东一个月前接连“撤退”》《“第三方”兜底并承诺8%年收益,瑞丰达“跑路”幕后操盘手浮现》等独家深度报道,揭示了瑞丰达产品4月份就无法兑付并悄然变更股东,兜底保收益销售产品,重仓绩差新三板公司、存在高买低卖异常交易行为等情形,向市场揭示风险,提醒投资者注意防范。
171 01-23 17:09 一财最热 点击关闭
配资之家开户平台提示:本文来自互联网,不代表本网站观点。